会员动态
岛津石油化工应用解决方案献力“碳达峰”、“碳中和”
☆ 导读 ☆
我国承诺2030年前中国二氧化碳排放达到峰值、努力在2060年之前实现碳中和的两个阶段奋斗目标。我国正将“碳达峰”、“碳中和”气候承诺纳入经济社会发展和生态文明建设整体布局中,“十四五”规划也将加快推动绿色低碳发展列入其中。
何为“碳达峰”、“碳中和”呢?
碳达峰
2030年之前,二氧化碳的排放不再增长达到峰值,之后逐渐降低。
碳中和
2060年之前,通过植物造树造林、节能减排等形式,抵消自身产生的二氧化碳排放量,实现二氧化碳“零排放”。

在我国的碳排放中,石油化工行业约占6-8%。炼化作为石油化工耗能和碳排放大户之一,需要依靠科技创新和技术进步,在碳达峰之前基本完成转型升级和结构调整,为碳达峰后向低碳发展、实现碳中和做好准备。气相色谱仪作为石化“碳达峰”常用分析检测仪器,被广泛应用到中控、产品质量检测分析中。岛津公司不断完善、丰富行业整体解决方案,推出了《岛津石油化工应用解决方案》、《二氧化碳催化还原应用解决方案》等解决方案,提升石油化工行业重要质量保障,变废为宝,促进低碳化工。

☆ 石油化工整体解决方案☆
石油化工原料主要为来自石油炼制过程产生的各种石油馏分和炼厂气,油田气、天然气等。石油炼制生产的汽油、煤油、柴油、重油以及天然气是当前主要能源的主要供应者,对于石油化工各个环节的检验、检测就显得尤为重要。经过60多年的应用解决方案积累,积极应对石化ASTM, UOP标准方法。

图1 岛津GC应对ASTM、UOP标准方法
岛津公司献力“碳达峰”、“碳中和”,推出了《岛津石油化工分析解决方案》,助力石化行业。
表1 岛津典型应用方案


图2 GC-2030主机及BID检测原理

图3 BID检测器分析水和甲酸

图4 BID和FID检测器结合分析炼厂气
☆ 特色方案-岛津高纯气体分析方案 ☆
高纯气是研究气体纯度分析与其中痕量杂质测定的专业学科,气体纯度分析采用扣除杂质的差减法计算,气体纯度分析实际是对气体中微量或者痕量的气体检测。高纯气包括:高纯H2, O2, N2, CO, CO2等永久性气体;高纯He, Ne, Ar, Kr, Xe,等稀有气体;高纯Cl2, H2S, NH3, PH3, SiH4等特种气体。随着我国经济的高速发展,石油化工生产,半导体工业,环境分析和科学研究等对高纯气不仅在数量上、质量上、种类上都不断提出新的要求,气体纯度越来越高。
脉冲氦离子化检测器PDHID,灵敏度高,性能稳定,其能放出高能光子能量(17.7eV),为通用型检测器,是检测分析痕量气体的利器。岛津公司自进入中国以来,一直积极应对石化、高纯气体、工业气体等行业的需要,及时提供整体解决方案,满足用户应用需求。

图5 PDHID检测器分析高纯氩气中微量杂质

图6 PDHID检测器分析高纯氦气中微量杂质5ppm(Ne 检测限0.02ppm)
☆ 岛津典型方案-炼厂气方案 ☆
石油炼厂副产的气态烃,主要来源于原油蒸馏、催化裂化、热裂化、石油焦化、加氢裂化、催化重整、加氢精制等过程。炼厂气加工是石油炼厂的重要任务之一,加工流程的选择取决于炼厂气的产量、组成和产品要求。炼厂气分析解决方案涵盖了从C1-C5, C6+的反吹,由氦气作载气,TCD分析永久性气体的浓度下限是:O2, N2, CO, CO2为50ppm, H2S为500ppm,用氩气或氮气作载气,TCD分析氢气的下限是50ppm,烃类分析使用FID最低检测限是10ppm。岛津提供多种配置用于炼厂气和扩展炼厂气分。表1列举已有的应对方案。对于炼厂气中微量CO,CO2,采用5阀9柱,MTN(甲烷转化炉), TCD检测器, dual FID检测器,一次进样,满足分析要求。

图7 岛津超快速炼厂气典型色谱图
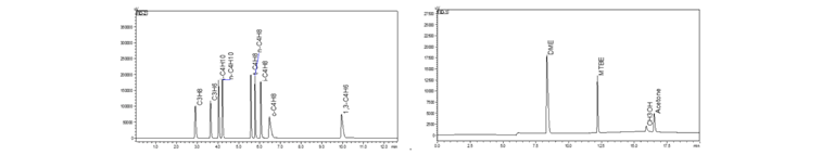
☆ 岛津典型方案-液化石油气方案☆
液化石油气作为化工原料或工业和民用燃料,在我国的能源结构中占着非常重要的地位。《NB/SH/T 0230-2019 液化石油气组成的测定 气相色谱法》用于含有含氧化物的液化石油气中烃类和含氧化合物(二甲醚、甲基叔丁基醚、丙酮和甲醇等)组成的测定,一次进样,检测分析所有组分。

图8 岛津液化气分析流路图

图9 液化气色谱图
☆ 岛津典型方案-微量硫化分析方案 ☆
原油和天然气中存在硫化物,在炼制和石化产品中普遍存在的硫化物通常是小分子、极性和活泼的化合物。微量硫化物容易导致高效催化剂中毒、失活,导致聚合反应速度减慢,生产成本高,产品品质下降。

图10 微量硫化物色谱图
☆ 岛津典型方案-温室气体和二氧化碳催化还原分析方案 ☆
二氧化碳过渡排放引发全球变暖,危及全人类生存。核算温室气体排放情况,摸清碳排放家底,是碳达峰碳中和工作的第一步,也是关键一步。碳中和包括全经济领域温室气体的排放,不只是二氧化碳,还有甲烷、氢氟化碳等非二氧化碳温室气体。岛津作为国际知名企业,致力于“为了人类和地球的健康”这一愿望作为公司的经营思想,推出了《温室气体解决方案》、《二氧化碳催化还原方案》,助力碳达峰和碳中和。

图11 典型温室气体分析色谱图

图12 典型二氧化碳催化还原分析色谱图